Клеммники KEEN SIDE

Datasheet К157ДА1 - 4

ОписаниеДвухканальный Двухполупериодный Выпрямитель Среднего Значения Сигналов
Страниц / Страница5 / 4 — Типовая. схема. включения. К157ДА1. Схема. включения. К157ДА1. с. …
Формат / Размер файлаPDF / 532 Кб
Язык документарусский

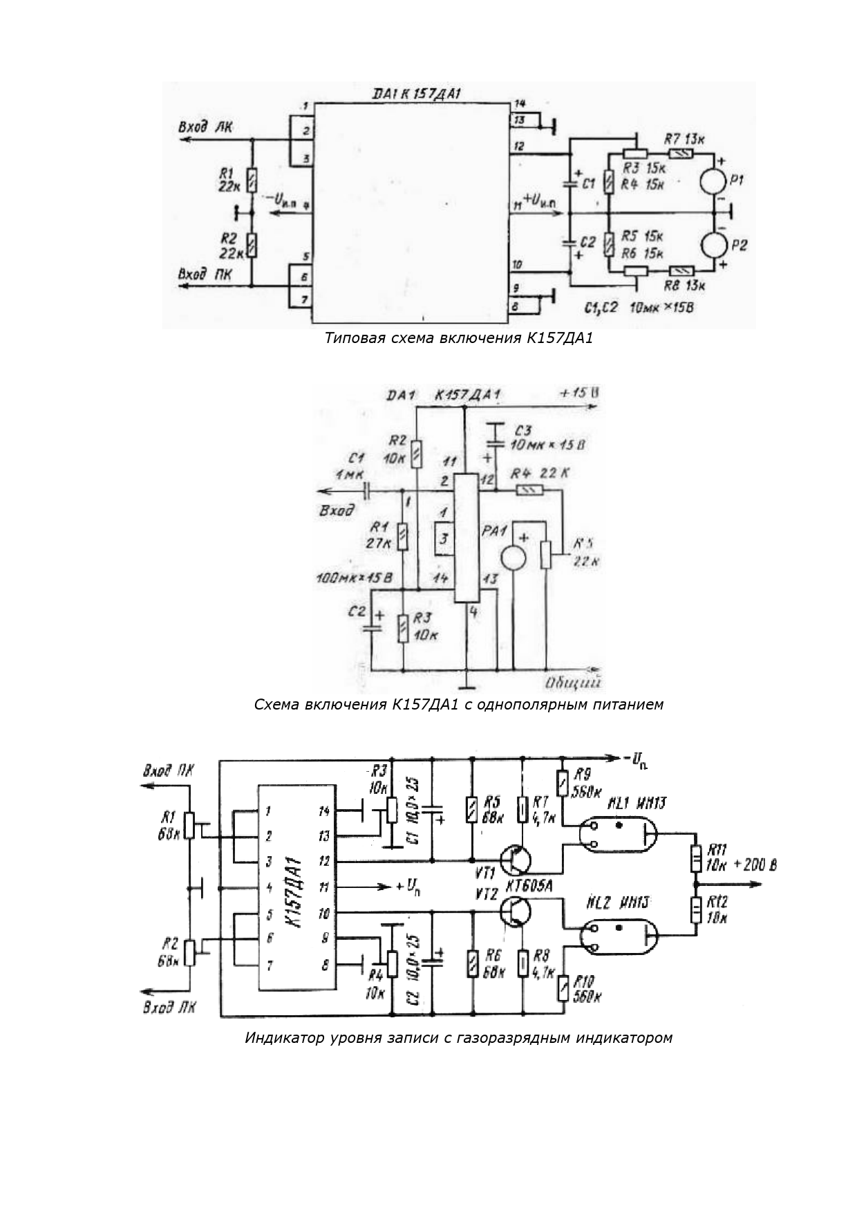
Типовая. схема. включения. К157ДА1. Схема. включения. К157ДА1. с. однополярным. питанием. Индикатор. уровня. записи. с. газоразрядным. индикатором

Типовая схема включения К157ДА1 Схема включения К157ДА1 с однополярным питанием Индикатор уровня записи с газоразрядным индикатором

5 предложений от 5 поставщиков
Микросхемы К157ДА1 представляют собой двухканальный двухполупериодный амплитудный детектор для управления приборами индикации средних уровней записываемых сигналов в стереофонических магнитофонах. Каждый канал...
Контест
Россия
К157ДА118 ₽
Romstore
Россия, Беларусь
К157ДА120 ₽
Микросхема К157ДА1 DIP14496 ₽
Элитан
Россия
К157ДА1965 ₽
АЦП азиатских производителей. Часть 3. Многоканальные АЦП с синхронной выборкой

Модельный ряд для этого даташита

Текстовая версия документа

Типовая схема включения К157ДА1 Схема включения К157ДА1 с однополярным питанием Индикатор уровня записи с газоразрядным индикатором
ТМ Электроникс. Электронные компоненты и приборы. Скидки, кэшбэк и бесплатная доставка