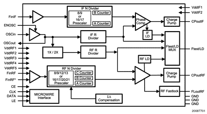
Корпорация National Semiconductor выпускает семейство высокоэффективных, экономичных дельта-сигма PLL синтезаторов LMX248x. Благодаря особенностям своей внутренней архитектуры (рис. 1) микросхемы обладают лучшей чувствительностью сигнала, что снижает потери энергии на 75% в сравнении с конкурентными продуктами.

Рис.1 Внутренняя архитектура семейства микросхем LMX248x.
Семейство синтезаторов LMX248x позволяет разработчикам создавать решения с превосходными характеристиками, прилагая минимум усилий. Линейка микросхем LMX248x идеально подходит для использования в широкополосных сетях передачи данных, таких как WLAN, WiMAX, перспективной технологии для передачи данных в мобильных сетях OFDM (сигнал расщепляется на несколько подсигналов, которые передаются по разным частотам) и других устройствах. Микросхемы LMX2485E (расширенный диапазон), LMX2485, LMX2486 и LMX2487 покрывают частотный диапазон от 50 МГц до 6 ГГц.

Технические характеристики
-
минимальное потребление
-
разрешающая способность до 1 ГГц
-
дискретная избирательность вплоть до 22 бит
-
интегрированный удвоитель частоты
-
частотный диапазон от от 50 МГц до 6 ГГц
-
миниатюрный LLP корпус
Применение
- оборудование для широкополосных сетей
- базовые станции
- устройства цифровой модуляции






