Поставки продукции Megawin по официальным каналам - микроконтроллеры, мосты USB-UART
РадиоЛоцман - Все об электронике

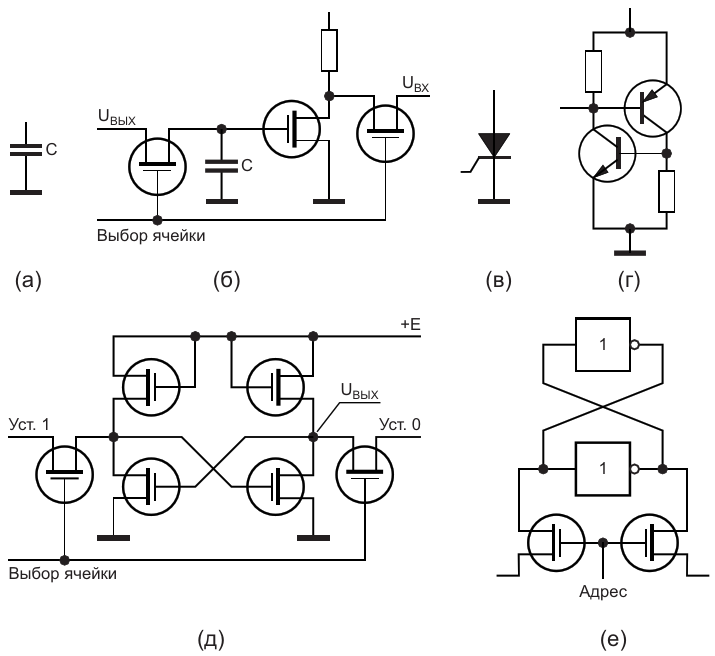
Классические единичные элементы памяти: (а) конденсаторные; (б) конденсаторные со схемой управления; (в) псевдотиристорные; (г) на основе транзисторных аналогов тиристора; (д) на основе транзисторных RS-триггеров и (е) RS-триггеров на элементах NOT

АвторыМихаил Шустов - Томск
Основной документСтатья «Ячейка памяти - трехполюсник»
ОписаниеРисунок 1
Формат / Размер файлаPDF / 15 Кб
Язык документарусский

Классические единичные элементы памяти: (а) конденсаторные; (б) конденсаторные со схемой управления; (в) псевдотиристорные; (г) на основе транзисторных аналогов тиристора; (д) на основе транзисторных RS-триггеров и (е) RS-триггеров на элементах NOT

AC-DC источники питания Mean Well на DIN рейку

Другие материалы из основного документа

ТМ Электроникс. Электронные компоненты и приборы. Скидки, кэшбэк и бесплатная доставка