M. Batek

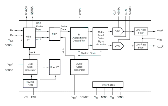
Теперь собрать собственную звуковую плату не составит труда! Используя ИС PCM2702 от BURR BROWN / Texas Instruments, Вы сможете создать полнофункциональную звуковую карту USB, которая не требует отдельного источника питания, имеет стерео выход и не требует никаких драйверов! Действительно Plug and Play. Ядром данного устройства является цифро-аналоговый стерео преобразователь с USB интерфейсом - PCM2702. Звуковая плата может «питаться» напрямую от USB порта. Для работы PCM2702 необходимо два источника питания: 3.3 V (3 V-3.6 V) и 5V (4.5 V-5.5 V). LDO TPS76733Q и LDO TPS76701Q соответственно. Напряжение на выходе IO3 должно быть немного меньше чем на входе, в данном случае - 4.8 В. Изменить напряжение можно потенциометром R33. При низкой мощности, IO3 можно замкнуть используя перемычку W3. LED D3 - индикатор питания.

Маленькие металлические бусинки размещены перед всеми выводами связанными с питанием PCM2702 и перед Vbus и GND порта USB. Используются они для уменьшения высокочастотных шумов. Найти такие SMD бусинки в местных магазинах радиотоваров сложно, однако найти их можно в старых жестких дисках. Они не необходимы, в можете использовать резисторы с сопротивлением в ноль Ом вместо них. Светодиод D1 загорается когда PCM2702 воспроизводит аудио полученное из USB порта, светодиод D2 - когда USB шина останавливает передачу аудио на PCM2702.

Печатная плата (инструкции для сборки):

Печатная плата PCB - Скачать в [EPS format] или [PDF format] :

Обратная сторона платы:

Собранная обратная сторона платы:

Устройство работает отлично. Было опробовано на следующих ОС: Windows 2000, XP и Vista. Как вы могли заметить, Texas Instuments PCM2702 не рекомендует эту ИС для новых устройств, предлагая заменить ее на PCM2704 или PCM2705, со схожими функциями, но имеющими встроенный фильтр.



Купить PCM2702 на РадиоЛоцман.Цены


