Вячеслав Дерябин
Преобразователи напряжение—частота ПНЧ (Voltage-to-Frequency Converters VFC) являются наиболее дешевым средством преобразования сигналов для многоканальных систем ввода аналоговой информации в ЭВМ, обеспечивающим высокую помехозащищенность и простоту гальванической развязки. ПНЧ — отличное решение для задач измерения усредненных параметров, расхода, а также задач генерирования и модуляции частоты.
ПНЧ относятся к классу интегрирующих преобразователей, поэтому обладают соответствующими достоинствами: хорошей точностью при минимальном числе необходимых прецизионных компонентов, низкой стоимостью, высокой помехоустойчивостью, малой чувствительностью к изменениям питающего напряжения, отсутствием дифференциальной нелинейности.
ПНЧ преобразует входное напряжение в частоту выходных импульсов, которые могут передаваться на большие расстояния без искажения информационного параметра — частоты. Второй этап аналого-цифрового преобразования: «частота—код» осуществляется путем подсчета импульсов за фиксированный интервал времени, то есть усреднением. Если этот интервал сделать кратным периоду основной помехи (20 мс), то помеха подавляется полностью. Это свойство особенно полезно для измерения зашумленных низкоуровневых сигналов, например э.д.с. термопары.
В интегральных микросхемах ПНЧ используется метод интегрирования входного сигнала с импульсной компенсацией заряда интегрирующего конденсатора. Для получения высокой точности и стабильности преобразования необходимо обеспечить постоянство вольт-секундной площади импульса обратной связи. Лучшей точностью и стабильностью обладают синхронизируемые ПНЧ, в которых длительность импульса обратной связи стабилизирует кварцевый резонатор.
Несинхронизируемые ПНЧ
Отечественная промышленность выпускает несинхронизируемый ПНЧ типа КР1108ПП1 и аналогичный КР1143ПП1. Их зарубежные аналоги, совместимые по выводам — ADVFC32 фирмы Analog Devices, VFC32 и VFC320 фирмы Burr-Brown. Упрощенная функциональная схема такого ПНЧ показана на рис. 1. ПНЧ включает в себя усилитель А1, компаратор А2, одновибратор, источник стабильного тока I0, аналоговый ключ S и выходной транзистор. Для построения ПНЧ микросхему следует дополнить двумя конденсаторами С1, С2 и двумя резисторами R1, R2. Элементы R1, С1, А1 образуют интегратор. Конденсатор С2 задает длительность импульса одновибратора t = kC2, где k определяется характеристиками микросхемы (в VFC32 I0 = 1 мА, k = 75 кОм). Импульсы тока I0 уравновешивают ток, вызываемый входным напряжением VIN
TVIN / R1 = kC2I0.
Откуда f = 1 / T = VIN / (kI0R1C2). (1)

Рис. 1. Типовая схема включения и диаграммы сигналов ПНЧ VFC32
Из (1) следует, что стабильность характеристики преобразования ПНЧ зависит от стабильности внешних элементов R1, C2 и внутренних параметров k, I0 микросхемы. Кроме того, для обеспечения высокой линейности преобразования конденсатор С1 необходимо выбирать с малой утечкой и малым коэффициентом диэлектрической абсорбции (полипропиленовый, полистирольный, поликарбонатный).
Диапазон входных токов задается равным 0,25I0, а резистор R1 устанавливает входной диапазон напряжения от 0 до VINmax = 0,25I0R1.
ПНЧ содержит выходной каскад с открытым коллектором. Напряжение питания этого каскада выбирается из условия согласования с последующими цифровыми цепями. Допустимый ток его достаточен для управления светодиодом оптрона или обмоткой импульсного трансформатора в схемах гальванической изоляции аналоговых входов.
С помощью рассматриваемого ПНЧ можно преобразовывать отрицательные напряжения, но для этого нужно изменить подключение входного сигнала. Иными словами, прямое преобразование биполярных сигналов не предусмотрено.
При расширении диапазона изменения выходной частоты все заметнее проявляется конечное время переключения аналоговых ключей, что выражается в интегральной нелинейности преобразования. Ее минимальная погрешность (0,01 %) достигается в узком диапазоне частот 0–10 кГц. В расширенном диапазоне выходных частот (0–500 кГц) погрешность нелинейности увеличивается до 0,2 %.
Еще один популярный ПНЧ — AD654 фирмы Analog Devices (рис. 2) — имеет следующие отличительные особенности: питание от одного источника напряжения 5 В, ток потребления 2 мА, высокое входное сопротивление (250 МОм), малые смещение (1 мВ) и дрейф нуля (4 мкВ/°С), небольшие начальное отклонение (±10 %) и температурный дрейф коэффициента преобразования (50*10-6/°С). Микросхема требует всего два внешних элемента RT и CT для задания характеристики преобразования:
f = VIN / (10 RT CT).

Рис. 2. Схема включения AD654 с изолированным выходом
Максимальная частота может быть установлена до 500 кГц при динамическом диапазоне 80 дБ (диапазон входного тока — от 100 нА до 1 мА). С помощью RT диапазон входных напряжений можно устанавливать от 10 мкВ – 100 мВ до 3 мВ – 30 В.
Входной усилитель позволяет работать напрямую с малыми сигналами термопары или тензодатчика. Выходной каскад AD654 согласуется с КМОП- и ТТЛ-схемами, управляет светодиодом оптрона, работает на длинный кабель.
Синхронизируемые ПНЧ
Точность ПНЧ определяется точностью вольт-секундной площади импульса обратной связи, поэтому вместо одновибратора в синхронизируемых ПНЧ длительность импульса обратной связи формируется равной периоду опорной частоты тактового генератора с кварцевой стабилизацией.
Рассмотрим микросхемы AD7741 / AD7742 (рис. 3, 4), заявленные фирмой Analog Devices как новое поколение синхронизируемых ПНЧ.

Рис. 3. Типовая схема включения AD7741

Рис. 4. Схема включения AD7742
AD7741 — это одноканальная версия в 8-выводном корпусе (DIP/SOIC), а AD7742 — многоканальная в 16-выводном (DIP/SOIC). Микросхема AD7741 имеет один буферизированный вход и работает с однополярным входным напряжением в диапазоне 0–VREF. AD7742 имеет четыре буферизированных входа, которые могут быть использованы как два дифференциальных или три псевдодифференциальных для работы с дифференциальным входным сигналом в диапазоне ±VREF/GAIN.
AD7742 имеет вход GAIN установки коэффициента усиления 1 или 2 и вход UNI/BIP задания униполярного/биполярного преобразования. Обе микросхемы содержат встроенный источник опорного напряжения VREF = +2,5 В, но предоставляют пользователю возможность подключать внешний источник. Обе питаются напряжением +5 В, потребляя ток 6 мА. Микросхемы также содержат блок логики понижения энергопотребления, который позволяет снизить потребление тока до 35 мкА в «спящем» режиме.
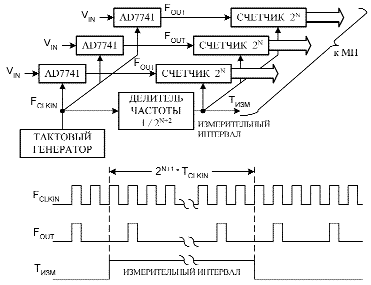
Входной сигнал через усилитель подается на емкостной модулятор, который преобразует входное напряжение в выходную последовательность импульсов фиксированной длительности. Выходной импульс генерируется по фронту сигнала тактового генератора (рис. 5). Длительность выходного импульса равна длительности тактового, а задержка между фронтом последнего и фронтом импульса на выходе обычно составляет 9 нс.

Рис. 5. Многоканальное аналого-цифровое преобразование с использованием синхронизируемых ПНЧ
Характерной особенностью AD7741/AD7742 является смещенный диапазон выходной частоты: нижней границе входного диапазона соответствует выходная частота 0,05FCLKIN, а верхней — 0,45FCLKIN (рис. 6). Таким образом, диапазон выходной частоты составляет 0,4FCLKIN. Максимально допустимая частота тактового генератора — 6 МГц.

Рис. 6. Характеристика преобразования: а) AD7741, б) AD7742 в биполярном режиме
Выход обеспечивает КМОП-уровни и позволяет подключать одну ТТЛ-нагрузку. Для управления светодиодом оптопары требуется усилитель или специальная схема с входным током менее 1,6 мА.
Удобно использовать ПНЧ совместно с микроконтроллерами, имеющими встроенные таймеры/счетчики. В восьмиканальном модуле ввода аналоговых сигналов AIN8 комплекса Decont производства АОЗТ «ДЭП» [2] применен PIC-процессор. На встроенный счетчик сигналы с выходов ПНЧ подаются по очереди через мультиплексор.
Одновременное многоканальное преобразование требует большого числа счетчиков. Реализовать массив счетчиков со схемой управления и выходом в магистраль микропроцессора можно в программируемой логической интегральной схеме, как это сделано в модуле аналоговых сигналов A16 производства АО «ТЕКОН» (Москва).
Большинство микросхем ПНЧ могут быть использованы для обратного преобразования «частота—напряжение» (ПЧН). Рисунок 7 иллюстрирует включение VFC32 для работы в режиме интегрирующего ЦАП, выходное напряжение которого пропорционально среднему значению частоты входного сигнала. ПЧН полезны в схемах гальванической развязки аналоговых сигналов, в тахометрах, в электроприводе, в телеметрии.

Рис. 7. Схема включения VFC32 в режиме ПЧН
Для электронных счетчиков электроэнергии созданы преобразователи произведения двух напряжений в частоту следования импульсов [3], например AD7750.
Микросхемы ПНЧ ведущих фирм производителей электронных компонентов для аналого-цифрового преобразования:
- Analog Devices (AD537, AD650, AD652, AD654, ADVFC32, AD7741, AD7742, AD7750);
- Burr-Brown (VFC32, VFC320, VFC100, VFC101, VFC110, VFC121);
- National Semiconductor (LM231, LM331);
- TelCom (TC9400, TC9401, TC9402);
- ПО «Альфа», г. Рига (КР1108ПП1).
При выборе ПНЧ следует учитывать:
- количество внешних компонентов, требования к их качеству, цену;
- точность ПНЧ (характеризуется интегральной нелинейностью, смещением и дрейфом нуля, смещением и дрейфом коэффициента преобразования);
- диапазон выходной частоты (Df = fmax – fmin) для получения требуемой разрешающей способности за время измерения;
- входное сопротивление или входной ток для согласования с датчиками;
- энергопотребление (количество и уровни напряжений питания, ток потребления);
- возможность прямого подключения оптрона к выходу ПНЧ.
Литература
- Гутников В. С. Интегральная электроника в измерительных устройствах. 2-е изд., перераб. и доп. Л.: Энергоатомиздат. Ленингр. отд-ние, 1988.
- Уваров А. В. Информационно-измерительный и управляющий комплекс Decont для автоматизированных систем контроля, учета и управления энергосбережением // Промышленные АСУ и контроллеры. 1999. № 8. С. 42–45.
- Соловьев А. Микросхемы для применения в счетчиках электроэнергии // Электронные компоненты. 1998. № 5. С. 11–12.






