AC-DC и DC-DC преобразователи напряжения Top Power на складе ЭЛТЕХ

Термопреобразователь сопротивления Рэлсиб Кл1-1

ПроизводительРэлсиб
СерияКл1
МодельКл1-1

Термометры серии Кл1 предназначены для измерения температуры жидких и сыпучих сред и других измеряемых рабочих сред, химически неагрессивных и не разрушающих материал защитной арматуры чувствительного элемента.

1071617190
Контест
Россия
DULUX S 11/21-840 КЛ-11264 ₽
Триема
Россия
Электродвигатель С-28,51вБ-1 кл11 36В 400Гц 150мА 16В7 350 ₽
АЦП азиатских производителей. Часть 3. Многоканальные АЦП с синхронной выборкой

Подробное описание

Рэлсиб - Кл1-1

Технические характеристики термометров серии Кл1

Параметры
НСХ по ГОСТ P 8.625–2006
Датчик
п/п
50М; 100М
Pt100; Pt1000
50П; 100П
Диапазон рабочих температур
–50 … +180 °С
–40…+125 °С
Пределы допускаемых отклонений
класс В
класс А и В
±2 °С
Схема соединений проводников
3–х проводная
Номинальная статическая характеристика
по ГОСТ Р 8.625–2006
 
Температурный коэффициент
α= 0.00428 °С–1
α= 0.00385 °С–1
α= 0.00391 °С–1
Номинальный
измерительный
ток, не более
   
0.5 мА
 
D
6.0 мм
2.0 мА
    
8.0 мм
5.0 мА
 
5.0 мА
10.0 мм
Показатель тепловой
инерции, не более
D
5.0 мм
10 с
6.0 мм
12 с
8.0 мм
20 с
10.0 мм
30 с
Полупроводниковый датчик
ТС1047 фирмы Microchip
напряжение питания
 
2.7…4.4 В
выходное напряжение
0.1…1.75 В
чувствительность
10 мВ/°С
Максимальное рабочее давление
0.1 МПа
Степень защиты от воздействия воды и пыли
IP44 по ГОСТ 14254–96
Средняя наработка на отказ
не менее 50,000 ч
Средний срок службы
не менее 5 лет

Конструктивные исполнения используемых головок

Тип клеммной головки
М
Б
Габаритные размеры
(кликните
для увеличения
)
 

Конструктивные исполнения термометров серии Кл1

Номер
исполнения
Кликните для увеличения 
Тип
клеммной
головки
Диаметр
монтажной
части D,
мм
Диаметр
резьбы
Длина
монтажной
части I,
мм
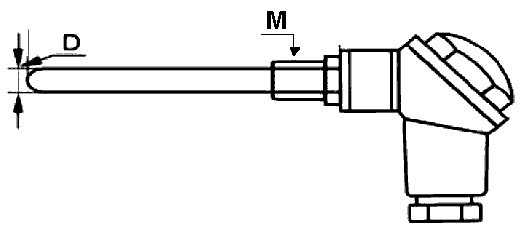
Кл1-1
Рэлсиб - термометр  Кл1-1
М
5.0
60; 80; 100; 120; 200
6.0
Б
8.0; 10.0
80; 100; 120; 160;
200; 300; 400; 500;
630; 800; 1000
Кл1-2
I1 = 30
Рэлсиб - термометр  Кл1-2
М
5.0
М12×1.5
60; 80; 100; 120;
160; 200;
6.0
М16×1.5
I1 = 120
Б
8.0; 10.0
М20×1.5; G½
80; 100; 120; 160;
200; 300; 400; 500;
630; 800; 1000
Кл1-3
Рэлсиб - термометр  Кл1-3
М
5.0
М12×1.5
60; 80; 100; 120;
160; 200;
6.0
М16×1.5
Б
8.0; 10.0
М20×1.5; G½
80; 100; 120; 160;
200; 300; 400; 500;
630; 800; 1000

Варианты написания:

Кл11, Кл1 1

ТМ Электроникс. Электронные компоненты и приборы. Скидки, кэшбэк и бесплатная доставка
Для комментирования материалов с сайта и получения полного доступа к нашему форуму Вам необходимо зарегистрироваться.
Имя