Алексей Пантелейчук (г. Краснодар)
Линейка микроконтроллеров MSP430F5, а также недавно анонсированные новейшие разработки компании Texas Instruments – семейства MSP430L092 и MSP430L091 подтверждают репутацию MSP430 как самого энергоэкономичного семейства микроконтроллеров в мире.
Тенденция выпуска микроконтроллеров с низким энергопотреблением вызвана желанием занять место на стремительно растущем рынке портативных устройств, где этот параметр является одним из ключевых при выборе компонентов для реализации устройства. Тем не менее, многие из таких микроконтроллеров изначально проектировались совершенно для других задач, следовательно, снизить их энергопотребление получается, только пожертвовав другими характеристиками. Микроконтроллеры MSP430 с самого начала позиционировались для портативных устройств с питанием от батареи, то есть, как говорят разработчики компании Texas Instruments, «ультранизкое энергопотребление заложено в ДНК MSP430». Это означает, что каждая «клетка» микроконтроллера создавалась с мыслью о сверхнизком энергопотреблении. В этой статье мы рассмотрим основные архитектурные особенности, за счет которых MSP430 продолжают оставаться самыми энергоэкономичными микроконтроллерами в мире.

Принцип работы микроконтроллерного приложения можно понять, рассмотрев рисунок 1, на котором условно представлен уровень энергопотребления приложения во времени. Для того, чтобы снизить среднее энергопотребление, необходимо, чтобы микроконтроллер оставался в режиме ожидания максимально возможное время, очень быстро переходил из него в активный режим и обрабатывал программный код с высокой производительностью.

Рис. 1. Принцип работы энергоэкономичного приложения
16-битное RISC-ядро MSP430 содержит 16 регистров, четыре из которых - специального назначения: счетчик команд, указатель стека, регистр статусов и генератор констант. Генератор констант, как понятно из названия, генерирует наиболее часто использующиеся константы в том или ином режиме адресации. Это исключает необходимость их программной генерации. Микроконтроллер адресует 1 МБ адресного пространства без разбиения его на страницы. Ядро поддерживает 27 команд, 7 режимов адресации и является полностью ортогональным. Это означает, что команду можно использовать в любом из режимов адресации. Все перечисленные особенности позволяют получить высокую плотность программного кода, что в сочетании с 16-битной разрядностью и производительностью ядра до 25 МГц (MSP430F5xx) сокращает время пребывания микроконтроллера в активном режиме (рисунок 1).
В составе системы синхронизации MSP430 имеется сразу несколько тактовых генераторов. Встроенный высокочастотный осциллятор с цифровым управлением (DCO) используется в активном режиме. Время стабилизации DCO не превышает 1 мкс, что очень важно для быстрого выхода из режима сниженного энергопотребления. Стабильность этого генератора во всем рабочем диапазоне температур составляет 3%, если же нужна более высокая точность, можно использовать внешний высокочастотный кварцевый генератор. Встроенный низкочастотный осциллятор (VLOCLK) с номинальной частотой 12 кГц имеет очень низкое энергопотребление и призван заменить внешний кварц 32 кГц. Для приложений, критичных к точности, MSP430 содержит вход со встроенными подстроечными конденсаторами для подключения часового кварца 32 кГц. Такая развитость и гибкость системы синхронизации дает возможность легко варьировать энергопотребление, точность, производительность в зависимости от условий решаемых задач.
Ядро микроконтроллера является самой энергозатратной его частью. В связи с этим в батарейных приложениях всегда стараются осуществлять обработку данных с минимальным привлечением ядра. Благодаря наличию контроллера прямого доступа к памяти (DMA), а также интеллектуальных периферийных устройств, MSP430 могут решать многие задачи вообще без использования ядра. Например, в приложении требуется генерировать звуковой сигнал через определенные промежутки времени. В этом случае контроллер DMA используется для передачи с заданной частотой цифровых отсчетов из памяти в цифро-аналоговый преобразователь. Другой пример: устройство оценивает состояние окружающей среды и накапливает значения измеренных величин (температура, давление, влажность) в памяти. Опять же, контроллер DMA справится с задачей передачи данных из АЦП в блок памяти. DMA-контроллер MSP430 может содержать до восьми независимых каналов, работающих во всем диапазоне адресов.
Как и все современные микроконтроллеры для приложений с питанием от батареи, MSP430 предусматривает несколько режимов работы с низким энергопотреблением. Управление режимами работы MSP430 производится через всего-навсего один статусный регистр в составе ЦПУ, что выгодно отличает эти микроконтроллеры от конкурентов. Во-первых, для изменения режима работы необходимо изменить состояние только одного регистра. Во-вторых, состояние микроконтроллера легко запомнить и восстановить, сохранив значение статусного регистра в стеке. Эта особенность в сочетании с быстрой стабилизацией системы синхронизации позволяет пользователю динамически подстраивать приложение в зависимости от условий работы.
Практически во всех батарейных приложениях требуется оценивать состояние батареи для своевременной ее замены, либо, если замена не была произведена - для корректного перевода микроконтроллера в безопасное состояние. Отличие микроконтроллеров батарейных устройств определяется наличием встроенной схемы сброса при падении напряжения питания ниже допустимого уровня. Превосходство MSP430 над конкурентами заключается в том, что эта схема, так называемый BOR - Brownout Reset, вообще не потребляет электрической энергии.
Мы рассмотрели только некоторые архитектурные особенности MSP430, делающие их самыми низкопотребляющими микроконтроллерами в мире. При желании, читатель может продолжить ознакомление со всеми тонкостями, обратившись к технической документации. Сейчас мы обратимся непосредственно к линейке MSP430.
Посетив сайт компании Texas Instruments, в разделе «MSP430» вы увидите множество семейств. Семейство 3xx - самое старое из них, и рассматривать его для новых применений не имеет смысла. Семейства 1xx и 4xx успешно развивались долгое время, поэтому они наиболее знакомы разработчикам во всем мире. Представители 4xx в отличии от 1xx имеют встроенный ЖКИ-контроллер для управления индикатором напрямую от микроконтроллера. Некоторые микроконтроллеры семейства 4xx обладают специализированным набором периферийных устройств и предназначены для конкретных применений, таких как, измерители уровня глюкозы в крови, счетчики воды, одно- и трехфазные электросчетчики и т.д. Семейство 2xx рассматривается как замена для 1xx, предлагая удвоенную производительность, сниженное энергопотребление, улучшенный состав периферийных устройств и меньшую цену [1]. И, наконец, самое новое семейство 5xx/6xx реализует в себе последние достижения компании TI в области 16-битных микроконтроллеров. Из вышесказанного следует, что целесообразно обратить внимание на второе и пятое/шестое семейства с точки зрения их возможностей долгое время работать без замены батарей (табл. 1).
Таблица 1. Пять семейств MSP430 с точки зрения энергопотребления
| Семейство | MIPS | Flash, КБ | мкА/MIPS | Режим «сна», мкА | Выход из сна, мкс | Напряжение, В | 
| 1xx | 8 | <60 | 200 | 0.7 | <6 | 1.8...3.6 | 
| 2xx | 16 | <120 | 220 | 0.3 | <1 | 1.8...3.6 | 
| 3xx | 4 | – | 160 | 0.9 | <6 | 2.5...5.5 | 
| 4xx | 8/16 | <120 | 200 | 0.7 | <6 | 1.8...3.6 | 
| 5xx/6xx | 25 | <256 | 165 | 2.5 | <5 | 1.8...3.6 | 
Микроконтроллеры второго семейства рекомендуются для приложений, в которых энергопотребление в режиме ожидания является самым важным параметром. Примером таких приложений могут служить датчики дыма, движения, пламени, разрушения стекла. То есть, от микроконтроллера требуется время от времени «просыпаться», оценивать ситуацию и «засыпать». При этом замена батареек предусмотрена раз в 5-10 лет.
Даже внутри одного семейства микроконтроллеры могут очень сильно отличаться друг от друга по функциональности и количеству выводов. Это относится непосредственно к семейству 2xx. Обычно в тех приложениях, которые мы обозначили выше, стараются выбрать недорогой микроконтроллер, поэтому в этой статье мы в качестве примера рассмотрим несколько бюджетных представителей семейства 2xx. Стоит обратить внимание, что несмотря на серьезные отличия старших моделей 2xx от младших по функциональности и цене, их показатели по энергопотреблению остаются довольно низкими.
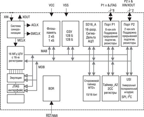
Микроконтроллер MSP430F2013, функциональная блок-схема которого показана на рисунке 2, имеет производительность 16 МГц, 2 КБайт памяти Flash, 128 Байт оперативной памяти, встроенную схему сброса при понижении напряжения питания, 16-битный сторожевой таймер, универсальный последовательный интерфейс, способный работать в режиме SPI и I2C, а также 16-битный сигма-дельта АЦП со встроенным термодатчиком. При этом корпус имеет 16 выводов, а цена начинается от $1,2. Наличие 16-битного АЦП благоприятно сказывается на точности преобразования аналогового сигнала, что делает микроконтроллер идеальным для таких приложений, как датчик движения [2].

Рис. 2. Блок-схема архитектуры MSP430F2013
Для приложений, в которых 10-битной точности АЦП будет достаточно, рекомендуем обратить внимание на недавно появившееся бюджетное подсемейство микроконтроллеров MSP430G2xx, цена которых начинается от 25 центов. Стоит отметить, что АЦП микроконтроллеров этого семейства содержит контроллер передачи данных (DTC), который перемещает преобразованные значения АЦП в память без участия ядра. Таким образом решается задача прямого доступа к памяти без наличия самого DMA. Это лишь один пример интеллектуальности периферийных устройств MSP430.
Представители семейства MSP430F5xx обладают очень высокой функциональностью и являются самыми малопотребляющими в активном режиме микроконтроллерами в мире [3]. Это семейство, в отличие от 2xx, рекомендуется для портативных приложений, которые большую часть времени проводят в активном режиме, принимая, отображая и передавая информацию.
Блок-схема архитектуры этого семейства представлена на рисунке 3. MSP430F5xx обладают производительностью 25 MIPS, большим объемом памяти, содержат 32-битный аппаратный умножитель, блок вычисления циклического избыточного кода, ЖКИ-контроллер, операционные усилители, АЦП и ЦАП, множество коммуникационных интерфейсов, среди которых USB 2.0, а также RF-трансивер для построения беспроводных приложений. Помимо тех архитектурных отличий, о которых шла речь вначале статьи, 5xx имеют присущие только им особенности.

Рис. 3. Блок-схема архитектуры микроконтроллеров семейства MSP430F5xx
Модуль управления энергопотреблением (PMM) со встроенным регулятором генерирует напряжение питания ядра. Программно задается один из четырех уровней, и с помощью двух супервизоров (SVS) и двух мониторов (SVM) производится контроль уровней входного и выходного напряжений (рисунок 4). Как уже упоминалось, ядро является самым энергозатратным компонентом микроконтроллера, но благодаря модулю PMM энергопотребление ядра можно уменьшить в те моменты, когда не требуется максимальная производительность.

Рис. 4. Блок-схема модуля управления энергопотреблением
В систему синхронизации USC микроконтроллеров MSP430F5xx добавлен новый низкочастотный встроенный осциллятор, называемый REFO. Этот осциллятор позволяет обойтись без 32-килогерцового часового кварца в качестве источника опорного сигнала системы синхронизации, если допустимо пожертвовать точностью. При этом сокращается еще один внешний компонент и уменьшается энергопотребление приложения.
Цифровые выводы MSP430F5xx содержат подтягивающие резисторы. Также у них есть возможность управлять нагрузочной способностью вывода. То есть, в тех случаях, когда не требуется выдавать максимальное значение тока в нагрузку, с помощью записи одного бита в регистр управления можно перевести вывод в состояние с низкой нагрузочной способностью, снизив тем самым энергопотребление и уровень электромагнитных помех микроконтроллера.
Одно из свойств компании Texas Instruments - никогда не останавливаться на достигнутом. Буквально во время написания этой статьи компания анонсировала микроконтроллеры MSP430L092 и MSP430L091 - первые в мире микроконтроллеры, способные работать в диапазоне напряжений от 0.9 В. Это означает, что на их основе можно строить приложения с питанием от одной батарейки без дополнительных повышающих преобразователей. 16-битное ядро этих микроконтроллеров работает на частотах до 4 МГц, энергопотребление в активном режиме составляет 45 мкА/МГц. Так как все MSP430 (1xx, 2xx, 4xx, 5xx/6xx) имеют одну и ту же систему команд, разработчики могут легко переходить с одного микроконтроллера на другой, оптимизируя свое приложения по цене, производительности, функциональности и энергопотреблению.
Заключение
В большинстве случаев энергопотребление микроконтроллера определяет энергопотребление системы в целом. Тем не менее, к выбору остальных компонентов для реализации системы нужно подходить системно. При этом нужно руководствоваться не только значениями токов в активном и выключенном состоянии. Очень важным отличием будет являться наличие цифровых выводов для включения/выключения компонента или перевода его в экономичный режим. Если нагрузочной способности цифрового вывода микроконтроллера хватает для обеспечения питания внешнего компонента системы, то «запитав» его напрямую от микроконтроллера, легко производить включение/выключение этого компонента, изменяя состояние цифрового вывода. При этом необходимо учитывать время стабилизации компонента при включении питания. В номенклатуре компании Texas Instruments для реализации приложений с питанием от батареи можно найти не только микроконтроллеры, но также все остальные необходимые компоненты с ультранизким энергопотреблением, такие как АЦП и ЦАП, источники опорного напряжения, коммуникационные интерфейсы, преобразователи напряжения, радиочастотные компоненты и многое другое.






