И. Потачин
Радио 12, 1998
Цифровой измерительный прибор в лаборатории радиолюбителя теперь не редкость. Однако не часто им можно измерить параметры конденсаторов и катушек индуктивности, даже если это мультиметр. Описываемая здесь простая приставка предназначена для использования совместно с мультиметрами или цифровыми вольтметрами (например, М-830В, М-832 и им подобными), не имеющими режима измерения параметров реактивных элементов.
Для измерения емкости и индуктивности с помощью несложной приставки использован принцип, подробно описанный в статье А. Степанова "Простой LC-метр" в "Радио" № 3 за 1982 г. Предлагаемый измеритель несколько упрощен (вместо генератора с кварцевым резонатором и декадного делителя частоты применен мультивибратор с переключаемой частотой генерации), но он позволяет с достаточной для практики точностью измерять емкость в пределах 2 пф ...1 мкф и индуктивность 2 мкГн ... 1 Гн. Кроме того, в нем вырабатывается напряжение прямоугольной формы с фиксированными частотами 1 МГц, 100 кГц, 10 кГц, 1 кГц, 100 Гц и регулируемой амплитудой от 0 до 5 В, что расширяет область применения устройства.
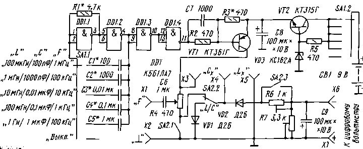
Задающий генератор измерителя (рис. 1) выполнен на элементах микросхемы DD1 (КМОП), частоту на его выходе изменяют с помощью переключателя SA1 в пределах 1 МГц - 100 Гц, подключая конденсаторы С1-С5. С генератора сигнал поступает на электронный ключ, собранный на транзисторе VT1. Переключателем SA2 выбирают режим измерения "L" или "С". В показанном на схеме положении переключателя приставка измеряет индуктивность. Измеряемую катушку индуктивности подключают к гнездам Х4, Х5, конденсатор - к ХЗ, Х4, а вольтметр - к гнездам Х6, Х7.

При работе вольтметр устанавливают в режим измерения постоянного напряжения с верхним пределом 1 - 2В. Следует учесть, что на выходе приставки напряжение изменяется в пределах 0... 1 В. На гнездах Х1, Х2 в режиме измерения емкости (переключатель SA2 - в положении "С") присутствует регулируемое напряжение прямоугольной формы. Его амплитуду можно плавно изменять переменным резистором R4.
Питается приставка от батареи GB1 с напряжением 9 В ("Корунд" или аналогичные ей) через стабилизатор на транзисторе VT2 и стабилитроне VD3.
Микросхему К561ЛА7 можно заменить на К561ЛЕ5 или К561ЛА9 (исключив DD1.4), транзисторы VT1 и VT2-на любые маломощные кремниевые соответствующей структуры, стабилитрон VD3 заменим на КС156А, КС168А. Диоды VD1, VD2 - любые точечные германиевые, например, Д2, Д9, Д18. Переключатели желательно использовать миниатюрные.

Корпус прибора - самодельный или готовый подходящих размеров. Монтаж деталей (рис. 2) в корпусе - навесной на переключателях, резисторе R4 и гнездах. Вариант внешнего вида показан на рисунке. Разъемы ХЗ-Х5 - самодельные, изготовлены из листовой латуни или меди толщиной 0,1...0,2 мм, конструкция их понятна из рис. 3. Для подключения конденсатора или катушки необходимо ввести выводы детали до упора в клиновидный зазор пластин; этим достигается быстрая и надежная фиксация выводов.
Налаживание прибора производят с помощью частотомера и осциллографа. Переключатель SA1 переводят в верхнее по схеме положение и подбором конденсатора С1 и резистора R1 добиваются частоты 1 МГц на выходе генератора. Затем переключатель последовательно переводят в последующие положения и подбором конденсаторов С2 - С5 устанавливают частоты генерации 100 кГц, 10 кГц, 1 кГц и 100 Гц. Далее осциллограф подключают к коллектору транзистора VT1, переключатель SA2 - в положении измерения емкости. Подбором резистора R3 добиваются формы колебаний, близкой к меандру на всех диапазонах. Затем переключатель SA1 снова устанавливают в верхнее по схеме положение, к гнездам Х6, Х7 подключают цифровой или аналоговый вольтметр, а к гнездам ХЗ, Х4 - образцовый конденсатор емкостью 100 пф. Подстройкой резистора R7 добиваются показаний вольтметра 1 В. Потом переводят переключатель SA2 в режим измерения индуктивности и к гнездам Х4, Х5 подключают образцовую катушку с индуктивностью 100 мкГн, резистором R6 устанавливают показания вольтметра, также равные 1 В.
На этом настройка прибора заканчивается. На остальных диапазонах точность показаний зависит только от точности подбора конденсаторов С2 -С5. От редакции. Налаживание генератора лучше начать с частоты 100 Гц, которую устанавливают подбором резистора R1, конденсатор С5 не подбирают. Следует помнить, что конденсаторы СЗ - С5 должны быть бумажными или, что лучше, метаплопленочными (К71, К73, К77, К78). При ограниченных возможностях в подборе конденсаторов можно использовать и переключение секцией SA1.2 резисторов R1 и их подбор, а число конденсаторов надо уменьшить до двух (С1, СЗ). Номиналы сопротивлений резисторов составят в этом: случав 4,7: 47; 470 к0м.






