Балинский Р. Н.
Радиоаматор, 2, 2006
Современная сложная электронная аппаратура, как известно, не терпит перегрева. Мощные транзисторы и микросхемы, сложнейшие чипы и процессоры с целью охлаждения устанавливают на радиаторы. Когда этого недостаточно, на помощь приходят малогабаритные вентиляторы. В современных мощных компьютерах, например, их не меньше полдюжины. В жаркие дни пользуются хорошим спросом настольные и напольные вентиляторы разных фирм и производителей. Как известно, большинство из них низкого качества.
Сравнительные испытания нескольких настольных вентиляторов разных фирм показали, что они представляют собой источник повышенной пожарной опасности. При температуре +28 С и напряжении сети 225 В вентиляторы в течение двух часов были включены на пониженную скорость (положение “1”) и имели приэтом перегрев обмоток +89 C, т.е. суммарный нагрев обмоток составлял +117 C! Перегрев обмоток на повышенной скорости (положение “2”) составлял уже +122 C, а суммарный нагрев обмоток +150 С! Некоторые образцы имели еще более высокую температуру. Не трудно представить, что будет с таким вентилятором при напряжении 250 В и более высокой температуре окружающей среды. Соблюдайте правила пожарной безопасности и не оставляйте включенными вентиляторы, уходя из дома.
Вентиляторы необходимо защищать от перегрева. Ниже приведено описание схем защиты для настольных вентиляторов, запитанных от сети переменного тока, и компьютерного вентилятора с питанием от сети постоянного тока 12В. Представлены схемы защиты для настольного вентилятора и вентилятора для обдува процессора Intel Celeron D320. Настольный вентилятор ELENBERG, модель FT23 10; процессорный кулер Intel C 33218300 10 BX881270D54B DC 12V 0,44A RATSANIO DENKI. На рис.1,а показана схема защиты настольного вентилятора, на рис.1,б – его монтажная схема. На рис.2,а показана схема защиты кулера, на рис.2,б – его монтажная схема.
Принцип действия
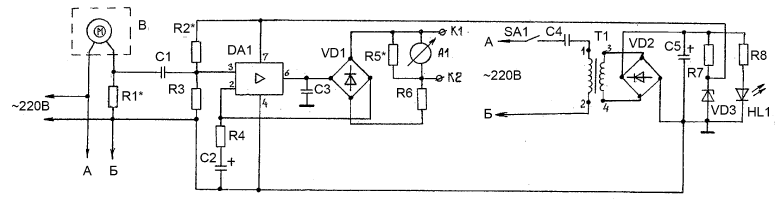
Схема рис.1,а представляет собой сигнализацию о тем пературе нагрева работающего вентилятора, подключенного к сети переменного тока. В качестве индикатора контроля температуры служит головка микроам перметра М906, отградуированная под замеряемую температуру. Поскольку го ловка имеет 100 делений, то каждое деление соответствует 1.С, что удобно. Шкала линейна во всем интервале измерений, имеет достаточную температурную стабильность. Устройство выполнено на интегральной микросхеме типа К140УД7 с питанием от той же сети переменного тока, от которой запитывается сам вентилятор, и представляет собой приставку, которую монтируют под основанием настольного вентилятора.
Схема работает следующим образом. В рассечку одного из сетевых проводов включен резистор R1, являющийся датчиком напряжения смещения при работевентилятора от сети. При работе венти лятора его рабочие обмотки постепенно нагреваются, в результате чего падение напряжения на этом резисторе уменьшается. Через конденсатор С1 это напряжение подается на прямой вход микросхе мы DA1, куда также подается напряжение смещения от источника постоянного тока с помощью делителя напряжения R2, R3.


R1 – 0,5 Ом
R2, R3 – 68 кОм
R4 – 2,2 кОм
R5 – 1 кОм
R6, R7 – 10 кОм
R8 – 3,3 кОм
R9 – 1 кОм
С1 – 5 мкФ16 В
С2 – 150 мкФ25 В
С3 – 1 мкФ400 В
С4 – 1000 мкФ16 В
DA1 – КР140УД7
VD1, VD2 – КЦ407А
VD3 – Д814В
HL1 – АЛ336В
Данный усилитель имеет достаточно высокий коэффициент усиления, который позволяет получить глубокую отрицательную обратную связь для получения устойчивой и стабильной работы. В данной схеме обратная связь осуществляется с выхода микросхемы (вывод 6) на инверсный вход микросхемы (вывод 2) через мостовой выпрямитель VD1. С помощью подборного резистора R4 устанавливают необходимый коэффициент обратной связи.
Для питания этой схемы применен простейший выпрямитель с гальваническим разделением от питающей сети с помощью миниатюрного трансформатора Т1, на первичную обмотку которого подается сетевое напряжение через гасящий конденсатор С4. Емкость конденсатора С4 подбирают такой, чтобы обеспечить схему стабильным напряжением 9 В.
Со вторичной обмотки напряжение подается на выпрямитель VD2, затем сглаживается конденсатором С5 и поступает на параметрический стабилизатор R7VD3, при этом загорается индикатор HL1 зеленого цвета свечения. Для подгонки данной головки по току служат резисторы R5, R6. Если кроме индикации прогрева требуется ввести звуковую сигнализацию или подключить устройство отключения вентилятора при достижении предельной температуры, параллельно головке А1 выведены клеммы К1 и К2 для подключения соответствующей аппаратуры реагирования.
Схема рис.2,а представляет собой звуковую сигнализацию при перегреве обмоток кулера, применяемого для охлаждения процессора компьютера с одновременной индикацией измеряемой температуры данного вентилятора. Питание кулера и схемы сигнализатора производится постоянным напряжением 12 В, снимаемым с блока питания компьютера. В качестве усилителя используется ОУ типа 741 импортного производства, для регистрации температуры служит головка А1 типа М4231, шкала которой проградуирована в градусах Цельсия. Предельной температурой обмотки кулера в данном случае можно принять +70.C, учитывая, что бытовую аппаратуру, согласно стандарту, можно эксплуатировать до температуры окружающей среды +45C.
При получении предупреждающего сигнала о перегреве обмотки вентилятора пользователь принимает решение об отключении компьютера от сети. Учитывая, что в компьютере одновременно работают несколько вентиляторов, можно считать их температуру одинаково высокой, что психологически подсказывает пользователю принять правильное решение. Ведь выход из строявследствие перегрева сравнительно недорогого вентилятора влечет за собой более тяжелые последствия: разрушение дорогостоящих процессора, материнской платы, видеоплаты, других элементов, поэтому есть смысл перестраховаться.
Работа устройства происходит следующим образом. В рассечку провода питания кулера включен датчик тока в виде низкоомного резистора R1, сигнал с которого через резистор R2 подается на инвертирующий вход микросхемы DA1(вывод 2). Сюдаже с выхода этой схемы (вывод 6) через резистор R3 подается усиленный сигнал. На прямой вход этой микросхемы (вывод 3) с резистора R5 снимается часть стабильного напряжения, в результате чего эта микросхема выполняет функцию компаратора, сравнивающего изменяемый сигнал, приходящий с датчика кулера, с опорным. Как известно, коэффициент усиления этой микросхемы определяется отношением со противлений резисторов R3 и R2, поэтому в процессе регулировки это соотношение подбирается оптимальным для того, что-бы получить необходимое значение температуры по шкале прибора, т.е. необходимую градуировку шкалы прибора по температуре.
Конструкция приборов
Поскольку описанные выше приборы предназначены для разных устройств, то и их конструктивное исполнение отличается. В первом случае прибор оформлен в виде приставки к действующему вентилятору, а во втором – как автономное устройство, связанное с компьютером проводами для снятия электрических сигналов. Поэтому в первом случае требуется тщательная подгонка конструкции к существующей конструкции вентилятора, чтобы все вместе составляло “фирменный” вид. Во втором – всю конструкцию достаточно расположить в подходящей пластмассовой коробке.
Оба устройства можно выполнить на печатной плате, изготовленной любым доступным способом или с помощью на весного монтажа, используя в качестве перемычек провод типа МГТФ30,14 или МГШВ30,2. С помощью этих же проводов, расположенных во фторопластовой трубке или трубке ПХВ, осуществляется связь с дорабатываемыми устройствами. Так как уровни подводимых сигналов достаточны, то экранировать их ненужно. Необходимо жестко закрепить плату внутри корпуса, при необходимости покрасить корпус молотковой или эмалевой краской под цвет дорабатываемых приборов, а приставку к компьютеру для удобства эксплуатации целесообразно закрепить на системном блоке на видном месте. Выключатели, светодиоды, из лучающую головку ВА1 следует расположить спереди. В случае применения в схеме других типов головок А1, на другой ток, подгонка параметров осуществля ется с помощью параллельно и последо вательно включенных резисторов. В любом случае, предпочтительны более длинные шкалы, так как они удобнее для съема информации.
Настройка
Для настройки обеих приставок необходимы следующие приборы: ЛАТР, мультиметр, регулируемый блок питания, осциллоскоп, резистор С5335 на мощность 100 Вт сопротивлением 1250 Ом (эквивалент электродвигателя), датчик R13CП3343 на 47 Ом.
Вначале приступают к настройке приставки к настольному вентилятору с питанием от сети 220 B. Для этого необходимо проверить нормальную работу от дельного блока питания, который запитывает постоянным стабильным напряжением 9 В микросхему DA1. Для этого к конденсатору С4 подключают осциллоскоп, а параллельно VD3 – мультиметр. Для нормальной работы схемы необходимо, чтобы величина пульсации на С4 не превышала 1 мВ выпрямленного напряжения. Учитывая малый ток потребления схемы добиться этого не так сложно: следует увеличить емкость фильтрующегоконденсатора С4.
В схеме для устранения возможного возбуждения микросхемы DA1 установлен конденсатор С5. В связи с этим следует подчеркнуть, что возбуждение возникает при определенных условиях: при большом коэффициенте усиления микросхемы и наличии положительной обратной связи с выхода микросхемы на вход; при повышенной температуре, влажности и радиации; при достижении источником питания граничных значений питающего напряжения – верхнего и нижнего. По этой причине при нормальной комнатной температуре возбуждение может не проявляться, однако конденсатор С5 исключать из схемы не следует.
Далее вместо электродвигателя вентилятора включают его эквивалент, а вместо R1 – переменный резистор СП3343, с помощью которого в процессе регулировки добиваются на этом датчике напряжения не выше 100 мВ, что необходимо для обеспечения линейности шкалы головки микроамперметра М906. Для подгонки крайней точки шкалы (100) устанавливают подстроечный резистор R4 на 1,5 кОм.
От сети 220 B с помощью ЛАТР выставляют номинальное напряжение; перемещая движок потенциометра R1, добиваются на нем падения напряжения 100 мВ, что и показывает мультиметр. Для установки показания прибора на нуль вместо резисторов R2, R3 включают потенциометр на 220 кОм, соединив его движок с выводом 3 Затем подстройкой резистора R4 смещают показания прибора А1 на отметку “100”. Все промежуточные значения укладываются по этой шкале. Если в качестве индикатора А1 используется головка на другой ток, то шкалу на нужные показания подгоняют с помощью резисторов R5–R7 по общепринятой методике.
Если в распоряжении радиолюбителя окажется головка, имеющая другую градуировку шкалы, то для удобства эксплуатации на плотной бумаге выполняют новую шкалу, удобную для отсчета, и при клеивают ее под основной шкалой. Напряжение замера подают также на клеммы К1 и К2 для дальнейшего использования этого напряжения. При этом следует определиться, при каком напряжении датчика должна включаться сигнализация или отключаться вентилятор от сети; рационально ориентироваться на температуру +70C и выше.
Как отмечалось ранее, при использовании печатного монтажа по окончании наладочных работ и замене подборных элементов близкими стандартного значения печатные дорожки для исключения коррозии покрывают бесцветным лаком УР3231 или аналогичным. После этого приставку прочно прикрепляют к подставке настольного вентилятора.
После этого можно приступить к регулировке приставки к кулеру процессора компьютера. Учитывая то, что защитная схема установлена в ответственной цепи, какой является цепь питания вентилятора процессора, здесь задействована только система звуковой сигнализации. Вопрос отключения компьютера от сети принимает сам пользователь. Для настройки схемы необходимо следующее оборудование: регулируемый блок питания; газовая или электрическая духовка для прогрева испытываемого электродвигателя до температуры +70C; двигатель вентилятора процессора или аналогичный; вместо датчика R1 – потенциометр CП334 4,7Ом; вместо резистора R2 – потенциометр на 22 кОм; вместо резистора R8 – потенциометр на 220 кОм. Для получения приятного звучания сигнализатора может потребоваться подбор резисторов R10, R11.
Данная схема представляет собой компаратор напряжения, у которого по входу сравниваются два напряжения: опор ное, снимаемое со стабилитрона VD1, и напряжение, снимаемое с датчика R1, величина которого в функции температуры вентилятора (чем выше нагрев вентилятора, тем меньше напряжение, снимаемое с датчика).
В отличие от существующих схем компараторов, где порог его срабатывания происходит фактически “вслепую” (т.е. пользователь фактически не знает, когда сработает компаратор: через минуту или пять часов), в данной схеме все происходит визуально по показанию прибора, поэтому известно, через какое время произойдет его переключение, и можно подготовиться к отключению компьютера. Разумеется, данную схему можно применить и для других целей.


R1 – 0,5 Ом
R2 – 15 кОм
R3 – 100 кОм
R4 – 3 кОм
R5 – 100 кОм
R6, R7 – 10 кОм
R8 – 100 кОм
R9, R10 – 10 кОм
R11 – 33 кОм
С1 – 1000 пФ
DA1 – µ741A
VT1 – КТ315Г
VT2 – КТ361Б
FS1 – КУ110А
VD1 – КС191А
ВА1 – ГД 0,02531
А1 – М4231
Для получения более достоверных результатов замер проводят в трех точках: при нулевой температуре, при комнатной, при температуре +70C, при которой включается предупредительная сигнализация и предполагается отключение компьютера. Поскольку габариты кулера не большие, то температурные замеры сним не представляют никаких затруднений. Если пользователь для исследований использует универсальный термостат, то получение нулевой и положительной температуры не представляет никакого труда: для этого внутри располагают кулер, задатчиком температуры самого термостата устанавливают нулевую температуру, выдерживают внутри кулер в течение 30 мин и с помощью по тенциометра R5 выставляют головку прибора А1 на нуль. После этого вынимают кулер из термостата, выдерживают его 30 мин и делают на шкале отметку окружающей температуры в помещении, замерив ее с помощью ртутного термометра (как более точного).
После этого задатчиком температуры термостата устанавливают внутри +70C, выдерживают там кулер полчаса и после этого потенциометром R2 устанавливают стрелку прибора на крайнее правое значение прибора. При достижении этой температуры компаратор должен переключиться и включить звуковую сигнализацию с помощью симистора FS1. Для его включения регулируют R8. Все замеры проводят с подключенным к блоку питания кулером. Причем замеры при повышенной температуре следует проводить быстро, чтобы к ее температуре не добавлялся дополнительный нагрев кулера.
При отсутствии термостата для получения нулевой температуры используют морозильную камеру холодильника, а повышенную температуру получают в домашней духовке, куда помещают кулер, а термометром замеряют температуру.
Работу звукового сигнализатора регулируют подбором резисторов R10, R11, а тональность звучания – подбором конденсатора С1. После настройки подборные элементы заменяют стандартными близкого значения, плату заливают лаком УР3231, а саму конструкцию закрепляют в удобном месте.
Детали
В схеме рис.1,а резистор R1 типа С2334, R9 – ММТ31, остальные – ОМЛТ 0,125. Конденсатор С1 типа К50 6 (неполярный), С2 – К50335, С3 – К73 17, С4 – К50335. Микроамперметр типа М906.
В схеме рис.2,а резистор R1 типа С2 34; R2–R4, R6–R11– ОМЛТ30,125; R5 – СП3338. Конденсатор С1 типа КМ5. Для уменьшения громкости сигнализатора (при необходимости) на нем можно снизить питающее напряжение, включив в рассечку питающего провода стабилитрон 2С156А. Правильно настроенное устройство работает безотказно.






